Available in capacities of 1, 2, 3, 5, 8, 10 and 12 ton .Jaw opening ranges from 0 to 90 mm. Material is M.S and high strength steel wherever required. Individual clamp is proof tested with 2 times the WLL and manufactured by a ISO 9001 facility. Maintenance replacement kits are available.


Things to Remember
- Weight of plate to lift.
- Hardness of plate to lift.
- Type of material to lift.
- Position of plate to lift.
Dont’s
- DO NOT lift plates with a temperature of 120ºC.
- DO NOT use to lift stainless steel, lead and copper.
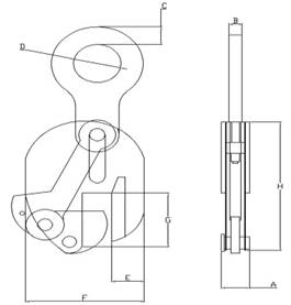
| Model | WLL (ton) | Jaw opening (mm) | A | B | C | D | E | F | G | H | Weight (kg) |
| VPLC-1 | 1 | 0-16 | 55 | 12 | 16 | 45 | 40 | 140 | 60 | 155 | 4.54Kg |
| VPLC-2 | 2 | 0-22 | 54 | 16 | 23 | 55 | 55 | 180 | 80 | 190 | 7.19Kg |
| VPLC-3 | 3 | 5-30 | 72 | 20 | 25 | 60 | 58 | 190 | 100 | 230 | 9.34Kg |
| VPLC-5 | 5 | 16-50 | 82 | 20 | 80 | 65 | 58 | 212 | 117 | 255 | 12.36Kg |
| VPLC-8 | 8 | 40-80 | 118 | 20 | 40 | 80 | 80 | 295 | 145 | 355 | 32.12Kg |
| VPLC-10 | 10 | 45-85 | 120 | 20 | 42 | 85 | 80 | 300 | 168 | 385 | 36.50Kg |
| VPLC-12 | 12 | 50-90 | 120 | 20 | 45 | 90 | 80 | 325 | 180 | 400 | 39.90Kg |